AMD近期发布了一篇题为《平衡延迟堆叠式缓存》的研究论文,正式披露了其在处理器架构设计上的最新探索方向。这项专利注册号为 US20260003794A1 的技术展示了苏妈的野心,那就是试图将3D堆叠技术引入L2缓存(二级缓存),以在寸土寸金的芯片面积上实现更极致的低延迟表现。

提起堆叠缓存,DIY玩家们最熟悉的莫过于让AMD在游戏领域的3D V-Cache技术。该技术利用硅通孔(TSV)将缓存颗粒直接垂直封装在计算核心之上,从而获得巨大的带宽优势。目前的第二代3D V-Cache技术已经通过将缓存垫在计算芯片与基板之间,有效解决了散热积热问题,并已成功应用于锐龙Ryzen 9000X3D系列消费级处理器以及部分EPYC服务器处理器上,显著扩充了L3缓存容量。

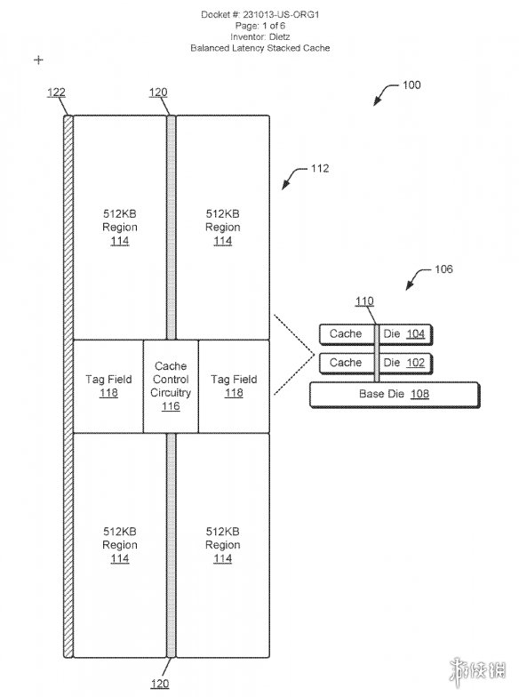
既然L3堆叠已经玩得炉火纯青,AMD自然将目光投向了更贴近核心的L2缓存。在最新的专利说明演示中,AMD展示了一种由4个512KB区块组成的堆叠式L2缓存方案,合计容量达到2MB,最大甚至可扩展至4MB。这种“赛博搭积木”的思路,有望再次改写处理器性能释放的逻辑。

AMD在论文中详细指出,得益于堆叠式缓存直接坐落于基础芯片上方,这种垂直架构相较于需要在平面上额外绕线布局的传统方式,拥有极具优势的物理距离。根据官方数据,传统的平面式1MB L2M缓存典型延迟约为14个时钟周期,而采用堆叠设计的同容量缓存可将延迟压缩至12个时钟周期。虽然看似只有2个周期的提升,但在高频次的数据交换中,这种微小的累积足以带来质的飞跃。

除了性能提升,能效比也是这次“整活”的重点。由于存取周期的缩短,缓存单元的激活时间得以减少,系统能更迅速地从工作状态切换回空闲状态。再加上垂直布线带来的信号负载降低,这两个特性叠加在一起,能有效压低芯片功耗。虽然AMD尚未给出该技术落地的具体时间表,但这波操作无疑给隔壁还在挤牙膏的友商又上了一课强度,至于何时能在新一代锐龙上体验到“堆叠L2”的黑科技,我们不妨拭目以待。